1. 官网网址
https://invquery.chinaclear.cn/
2. 网站简介
经中国证监会批准,2001年3月30日,中国证券登记结算有限责任公司(以下简称中国结算公司)设立,中国结算公司是依据《中华人民共和国公司法》和《中华人民共和国证券法》设立的不以营利为目的的企业法人。中国结算公司官方简称为“中国结算”(中文)、“CSDC”(英文);官网为:http://www.chinaclear.cn。
中国证券登记结算系统,由中国结算公司设立,网址为:https://invquery.chinaclear.cn/
3. 注册与登录
3.1. 首次注册
若您是首次使用,需要先在官网注册,并进行实名认证。
注册网址:https://inv.chinaclear.cn/home.html#/register
3.2. 登录
若您已有账户,可以直接登录。
登录网址: https://passport.chinaclear.cn/login
4. 网站功能
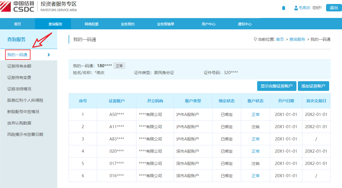
4.1. 我的一码通
网址:https://invquery.chinaclear.cn/home.html#/uniqueCode
4.1.1. 查询

4.1.2. 显示完整证券账户

4.2. 证券持有余额
网址: https://invquery.chinaclear.cn/home.html#/generateEsigns

4.3. 证券持有变更
网址: https://invquery.chinaclear.cn/home.html#/generateEsigns

4.4. 证券冻结情况
网址: https://invquery.chinaclear.cn/home.html#/generateEsigns

4.5. 未开立证券账户证明
网址:https://invquery.chinaclear.cn/home.html#/accountEsigns
4.5.1. 查询入口

4.5.2. 开具证明

5. FAQ
5.1. 电子凭证的申请上限?
(1)一个用户单日申请电子凭证的上限为15次。
(2)官网仅提供近三年内的查询结果记录。
5.2. 系统未查询到对应的证券账户(含已注销证券账户)?
如果系统提示如下信息:“根据您提供的身份信息,系统未查询到对应的证券账户(含已注销证券账户),请您核对录入信息。”则说明当前用户可能从未开立过证券账户,系统无法绑定并激活一码通账户,也无法查询证券账户、余额及交易等信息;但相对应地,您可以获取《未开立证券账户证明》。相关操作提示,详见“说明4.5”。