1. 功能简介
企查查,VIP用户每日可导出20份企业报告,企业套餐成员/SVIP用户每日可导出1000份企业报告;暂不支持港台企业、美股企业、政府单位报告导出,导出时将自动过滤。
企业报告类型:
- 企业信用报告-标准版;
- 企业信用报告-专业版;
- 关联方认定报告。
2. 操作步骤
2.1. 整理待查询的企业清单
整理待企业名称的技巧,参见: 点击查看
2.2. 打开批量查询界面
https://www.qcc.com/web/project/batchSearch
2.3. 导入需要批量查询的企业清单
2.3.1. [方法1] 直接复制粘贴
复制需要批量查询的企业清单,点击【输入文本】框,粘贴(快捷键:Ctrl + V)。

2.3.2. [方法2] 填写Excel模板

2.4. 手工修改匹配失败的名称(若有)
若有匹配失败的名称,可点击 按钮进行修改。
建议:为方便后续与其他数据匹配,推荐新建一张工作表,登记一下【修改前的名称】和【修改后的名称】;
或者,打开拟批量查询的《企业名称清单》,同步修改相关工作表中的原始名称。

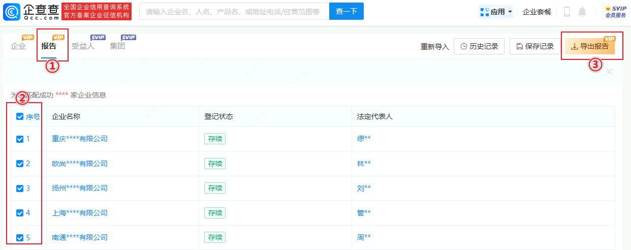
2.5. 导出报告
报告 → 全选需要导出的企业 → 导出报告 → ……

(2)…… → 点击所需导出报告类型 → 勾选所需导出报告格式 → 立即导出。

2.6. 下载
下载界面网址:https://www.qcc.com/web/user/download?type=2
注:如果所需查询的数量较多,后台生成下载文件会需要较长时间,请耐心等待片刻时间后,再尝试手工刷新网页。

3. 更多资料
更多企查查使用教程,参见:点击查看