1. 应用场景
- 核查企业合并范围的完整性;
- 核查对外投资的完整性。
2. 操作指引
2.1. 第1步:获取并整理被审计单位提供的清单
获取并整理被审计单位提供的《合并范围清单》、《对外投资清单》,将之与以下信息记录核对,检查被审计单位提供的清单是否完整,包括但不限于:
- 获取对内、对外投资的公司清单,与账面记录核对;
- 检查会议纪要、法律协议等文件,识别是否存在尚未入账的投资事项;
- 询问企业管理层,是否存在尚未入账的投资事项;
- 其他。
2.2. 第2步:导出工商信息
在第三方工商信息查询系统中,使用被审计单位的公司名称查询并导出其对外投资、历史对外投资、控制企业、间接持股企业等信息。
2.2.1. 企查查
(1)对外投资

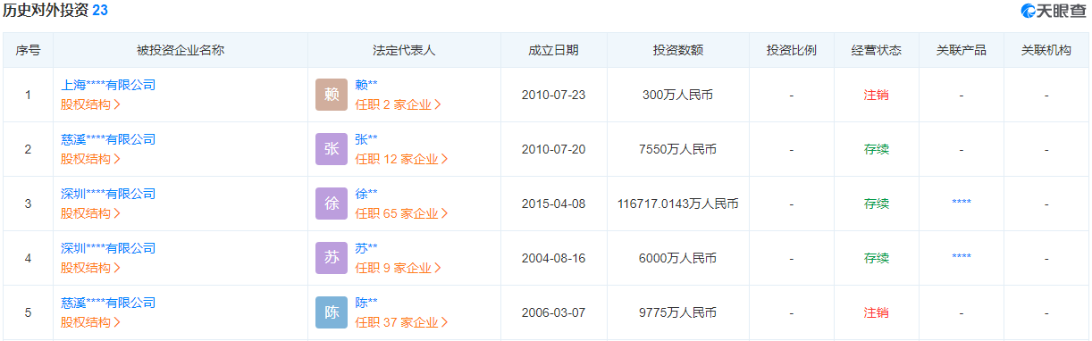
(2)历史对外投资

(3)控制企业

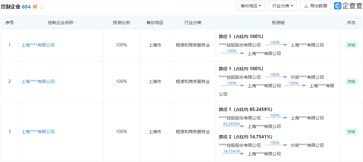
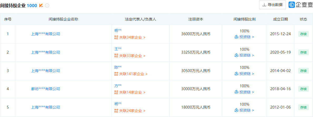
(4)间接持股企业

2.2.2. 天眼查
天眼查:https://www.tianyancha.com/
(1)对外投资

(2)历史对外投资

(3)实际控制权

2.3. 第3步:整理数据
整理第三方工商信息系统导出的对外投资、历史对外投资、控制企业、间接持股企业等信息,包括但不限于:
- 归并同类名称列;
- 删除重复项;
- 去除企业名称前后空格: 可使用Excel公式
Trim()进行快速整形; - 统一企业名称中的中英文括号: 可使用 Excel 公式
Substitute()进行快速整形; - 其他。
注:以上操作中的部分数据整形步骤,可以利用Excel组合公式快捷整理,如下:
=TRIM(SUBSTITUTE(SUBSTITUTE(A2,"(","("),")",")"))
2.4. 第4步:双向匹配
将第三方工商信息系统导出的对外投资、历史对外投资、控制企业、间接持股企业等信息,与企业提供的《合并范围清单》、《对外投资清单》进行双向匹配,检查被审计单位提供的信息是否完整。
注:双向匹配时,可以使用Excel公式操作,如:
Vlookup或Index+Match。
3. 声明
以上内容仅为毛燕庆个人观点,不代表任何机构意见,亦不保证相关信息的准确性和完整性,文中所述内容和意见仅供参考。